hypermedia mirror
historiaa
Tein ensimmäistä kertaa generatiivista taidetta vuonna 2017 kun olin 10-vuotias. Käytin tähän lapsille suunnattua Hopscotch-koodaussovellusta iPad Minilläni.
Sovelluksesta löytyi kaikki tarvittavat toiminnot: piirtäminen, silmukat, matemaattiset operaatiot ja muuttujat. Toisin kuin tekstipohjaisessa koodaamisessa, virheiden tekeminen oli lähes mahdotonta, sillä ohjelmat rakentuivat vain loogisia palikoita sormilla liikuttamalla.
Yksi Hopscotch-alustalla tehdyistä 'teoksistani' vuodelta 2018. (linkki)
historiaa
Aloitin vuonna 2019 11-vuotiaana tietokoneella tuottamani elektronisen musiikin julkisua internetissä. Tein tätä varten abstrakteja musiikkivideoita ja muuta visuaalista taidetta erilaisilla tietokoneohjelmilla. Eniten pidin visuaalisen taiteen työkaluna Blenderistä.
Stillikuva lyhyestä Blenderin (edelleen visuaalisella) Node-systeemillä koodatusta abstraktista videosta vuodelta 2021. (linkki)
historiaa
Kiinnostuin vuonna 2022 14-vuotiaana enemmän tekstipohjaisilla ohjelmointikielillä koodaamisesta ja yhdistin luonnollisesti senkin taiteeseen. Opettelin tekemään mm. nettisivuja ja generatiivista taidetta erilaisilla työkaluilla. Opin nopeasti.
Tästä alkaen olen tehnyt jatkuvalla syötöllä sekä omia generatiivisia teoksia että koodannut isäni teoksia, joita on ollut esillä mm. Tampereen taidemuseossa, Aalto-yliopiston kampuksella, ja Malva-museossa Lahdessa.
Tein myös uudet nettisivut molemmille taitelija-vanhemmilleni vanhojen
Wordpress-sivujen tilalle:
pasirauhala.fi
mammu.fi
Stillikuva OPENRNDR-ohjelmointikirjastolla tekemästäni generatiivisesta teoksesta (2024).
historiaa
Vuonna 2024 hain nuorille suunnatussa avoimessa haussa omalla teosidealla Amos Rexin Generation 2026 -näyttelyyn. Koodasin tätä varten nopeasti demon ideastani.
Yllätyksekseni tulin valituksi näyttelyyn.
Olin kai tehnyt tarpeeksi vakuuttavan hakemuksen. Kiinnostus filosofiasta, kirjoittamisesta ja elämänmittainen altistus taiteelle varmasti auttoi.
Tuntui siltä, että olin juuri löytänyt jonkun itseäni puhuttelevan ja uniikin visuaalisen tyylin. Nyt se pääsisi heti museoon.
Nopeasti koodaamastani demosta rakentuisi esitettävä valmis teos.
Hakemukseen liittämäni havainnekuva hypermedia mirror -teoksesta.
tietoa, tunnetta ja mielipiteitä
Ideoi, suunnittele ja toteuta teos tai tuote, joka käsittelee tiedon välittämistä ja/tai tiedolla vaikuttamisista ja niiden taustalla olevia motiiveja. Nimeä teos tai tuote. (lukiodiplomin tehtävänanto)
Tehtävänanto johdattelee kohti aiheita, jotka käsittelevät sosiaalista mediaa ja tiedonvälityksen muutoksia internetin myötä.
tietoa, tunnetta ja mielipiteitä
Sattumalta jo ennen aiheiden julkaisua Generation-näyttelyyn työn alla ollut teokseni sopi tähän aiheeseen, sillä teos käsittelee internetkulttuuria ja siinä elämiseen kuuluvaa informaatiotulvaa. Sitä, miten huomio on yksi arvokkaimmista resursseista informaationyhteiskuntamme talousjärjestelmässä ja sitä pyritään saamaan millä keinoin tahansa.
Teokseni pyrkii simuloimaan maksimalismillaan internetin mahdollistaman huomiotalouden hyperaktiivisuutta.
inspiraatio: musiikki
Kuuntelen aina musiikkia työskennellessäni ja koen, että tämä vaikuttaa suuresti tunteisiini ja ilmaisuuni.
Haen inspiraatiota kuitenkin etenkin tietyistä musiikkityyleistä. Tämä kokonaisuuden kohdalla tärkeitä inspiraation lähteitä ovat olleet hyperpop ja plunderphonics. Genreissä kuuluu mielestäni vahvasti samaistuttava 'nettinatiivius' ja ne ammentavat samoista alakulttuureista kuin minä.
Tykkään sanoa, että taiteeni näyttää siltä, miltä death's dynamic shroud kuulostaa. death's dynamic shroud on kolmen tuottajan elektronisen musiikin kokoonpano, joka tekee paljon vaporwave-/plunderphonics-musiikkia. Siis, abstraktin surrealistista elektronista musiikkia, joka koostuu enimmäkseen muusta musiikista ja pop-kulttuurista otetuista 'sampleista' eli äänikatkelmista.
Visuaalinen taiteeni perustuu myös 'sampleihin' eli internetistä kerättyihin 'visuaalisiin katkelmiin', kuviin.
I'll Try Living Like This -
death's dynamic shroud
(levyn kansikuva)
I Love My Computer - Ninajirachi
(levyn kansikuva)
inspiraatio: memeettisyys
Syksyllä 2025 näin Tampereen taidemuseon kellarissa Marco Brambillan videoinstallaation Heaven's Gate. Videoteoksessa scrollataan hitaasti ylös looppaavista pop-kulttuurista 'samplatyistä' videopätkistä koostettua maksimalistista kollaasimaailmaa.
Olin tällöin jo aloittanut oman teokseni tuottamisen, joten teoksen näkeminen toi enemmänkin varmuutta siitä, että näin voi tehdä ja saada aikaan jotain hienoa.
Koen siis ehkä tietynlaista 'hengenheimolaisuutta' Brambillan kanssa.
Keskin teoksesta myös, että voisinhan minäkin käyttää videoita yhtenä elementtinä teoksessani, mutta tekninen toteutus sitä varten vaatisi jonkin verran uudelleentyöstämistä. Ehkä se siis jää toistaiseksi pois.
Stilli Heaven's Gate teoksesta Marco Brambillan sivuilta. (linkki)
inspiraatio: suuruudenhulluus
Vuonna 2023 näin Amos Rexissä taiteilija Ryoji Ikedan näyttelyn, jossa näyttelysalia koristivat massiiviset videoprojisioseinät, joilla esitty abstrakti nopeasti muuttuva sisältö yhdistettynä valtavaan esityskokoon loi hyvällä tavalla wow-efektiä. Silmät liimautuivat tähän kaoottisuuteen.
Se olikin ehkä tämä näyttely, joka sai minut toivomaan teokseni esitettävän juurikin suurella irrallisella projisioseinällä isossa näyttelysalissa.
Käytin jopa näyttelyhakemuksessani havainnekuvana Amos Rexin kuvaa Ryoji Ikedan näyttelystä, toki niin että kuvassa Ikedan teos oli korvattu minun teoksellani.
Kuva Ryoji Ikedan teoksesta dataverse 1 Amos Rexissä. (linkki)
inspiraatio: generatiivisuus
Generatiivinen taide on muodostunut minulle luonnolliseksi ilmaisutavaksi. Taitelijina saan luoda vain ohjelman, joka ottaa huomioon juuri ne asiat joita haluan, ja yhdistää muotoja, värejä, kuvapintoja ja efektejä automaattisesti saamansa datan mukaan (tai joskus täysin satunnaisesti). Ohjelman suorittaminen tuottaa aina jotakin uniikkia, joka syntyy kuitenkin juuri minun asettamieni raamien sisään. Teos ei ole yksittäinen ohjelman tuottama kuva, vaan ohjelma itse. Se hetki, kun olen juuri puhunut tuntikausia tietokoneen tarkkoja taikakieliä, mutta yhtäkkiä en voi tehdä muuta kuin tuijottaa sen tuotoksia, pelkästään havaita ja kokea niitä.
Alalta löytyy paljon tutoriaalintekijöitä ja sometaiteilijoita, jotka ovat kieltämättä edesauttaneet kiinnostustani generatiiviseen taiteeseen. Tällaisissa piireissä tuotokset ovat kuitenkin usein pelkkiä 'demoja', vain netissä julkaistavia ja melko nopeasti tehtyjä variaatioita.
Juuri siksi en osaa mainita yhtä tiettyä generatiivista taiteilijaa, joka olisi ollut erityinen inspiraatio.
Taidemaailmassa puhutaan useammin vain mediataiteesta, joka on terminä hyvin laaja. Tärkeitä inspiraation lähteitä ovat kuitenkin kaikki tilalliset ja interaktiiviset teokset, joita olen päässyt näkemään.
Stillikuva lyhyestä looppaavasta generatiiviseta videoteoksesta. Teoksen loi Noisemaker Bot, joka lataa nettiin tunnin välein uuden. uniikin, ihmisen tekemän koodin perusteella luodon videon. (linkki)
tekninen toteutus
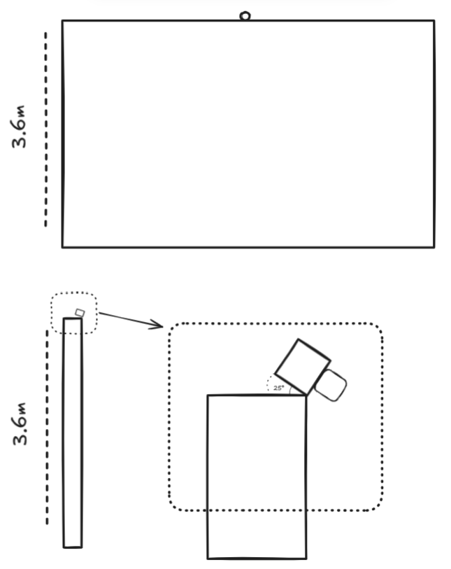
hypermedia mirror on konkreettisesti Amos Rexin isossa salissa oleva 3.6m korkea ja 6.4m leveä seinärakenne, johon projisoidaan teosta. Seinän yläreunassa on kamera, joka kuvaa noin 7 metriä syvää aluetta teoksen edessä ja muokkaa teosta alueella näkyvän liikkeen perusteella. Alue on varattu teoksen 'käyttämiseen'.

tekninen toteutus
hypermedia mirror on konkreettisesti Amos Rexin isossa salissa oleva 3.6m korkea ja 6.4m leveä seinärakenne, johon projisoidaan teosta. Seinän yläreunassa on kamera, joka kuvaa noin 7 metriä syvää aluetta teoksen edessä ja muokkaa teosta alueella näkyvän liikkeen perusteella. Alue on varattu teoksen 'käyttämiseen'.
Kamera näkee yläviistosta hyvin kaikki alueella liikkuvat ihmiset.
Koodi vertaa kameran kuvaa nykyhetkellä ja hetkeä aikaisemmin nähdäkseen kuvassa tapahtuvan liikkeen. Siitä piirretään mustavalkoinen kuva, jossa kaikki liike näkyy valkoisena ja kaikki liikkumaton mustana taustana.

tekninen toteutus
Mustavalkoista liikekuvaa tarkastellaan joka tasaisin välein joka puolelta kuvaa. Jos jokin tarkasteltu piste ei ole musta, siinä tulkitaan olevan liikettä. Oheisessa kuvassa tarkastelu on havainnollistettu ympyröin. Ympyrät on väritetty valkoisiksi kohdissa, joissa näkyy liikettä.
Kohtiin, joissa tulkitaan näkyvän liikettä, piirrettään satunnaisesti jokin teoksen lähdekuva.

tekninen toteutus
Teokseen piirtyy siis tosiasiassa vain sitä katselevien ihmisten liike teoksen lähdekuvista muodostuneena.
Kuvapintaa ei tyhjennetä kuvien (frames) piirtämisen välissä kuten usein liikkuvassa kuvassa tehdään, vaan kuvapintaan vain jatkuvasti lisätään uudesta liikkeestä syntyviä kuvia.
Kuvapintaan käytetään kokoajan kuitenkin erilaisia efektejä, jotka levittävät ja tuhoavat menneitä kuvia. Efektit vaikuttavat feedback loopissa itseensä kokoajan ja näin kuvapinnan valtaa abstrakti värikäs massa, jossa lähdekuvia ei voi enää nähdä.
Vain pysymällä liikkeessä voi pysyä näkyvissä.

museo
Näin kaksi vuotta sitten, 2024, koulussa mainosjulisteen Generation 2026 -näyttelyn avoimesta hausta. Vanhempien kannustamana päätin hakea näyttelyyn. Idea teoksesta syntyi jo hakiessa, jolloin tein siitä ensimmäisen toimivan version.
Kuraattori tuki ideaa ensimmäisessä tapaamisessa, kehui sen olevan näyttävä jo alkuperäisessä muodossaan, kyseli tekniikasta ja kannusti näyttävään kokoon.
Hakemukseen liittämäni kuva teoksen demoversiosta.
museo
Museo oli valmis hankkimaan kaiken tekniikan, jonka teos vaatisi. Meiltä löytyi kuitenkin omasta takaa kameroita ja muuta Malvan näyttelyssä käytössä olevaa tekniikkaa, joten ne osat tullaan vuokraamaan museolle näyttelyä varten. Tietokone ja videoprojektori tulee museon varastosta.
Meiltä löytyy kahdenlaisia teokseen soveltuvia kameroita: tavallisia- ja NIR-kameroita, jotka näkevät vain valon infrapuna-aallonpituuksia. Jätin museon päätettäväksi kumpia käytetään. Tavallinen kamera toimii, kun kuvattavalla alueella on tarpeeksi tasaisesti näkyvää valoa eikä esim. yhtään videonäyttöjä. NIR-kameraa käytettäessä puolestaan näkyvällä valotilanteella ei ole väliä, koska tila valaistaan tasaisesti ihmiselle näkymättömällä infrapunavalolla. Ripustus toisaalta monimutkaistuu, sillä valot pitää asentaa myös. Museo valitsi käytettäväksi NIR-kamerat ja -valot toimintavarmuuden takaamiseksi.
Museomestari pyysi minulta kytkentäkaaviota teoksen tekniikasta.
museo
Olin jättänyt auki alun perin sen, tuleeko teokseen ääntä. Suunnittelin aika paljon ääniä ja niiden teknistä toteutusta. Tein jopa erilaisia demoja. Ajatuksena oli, että rauhallisen taustaäänen lisäksi teokseen kuuluisi kaaoottisempaa katsojien liikkeestä syntyvää ääntä.
Päätimme kuitenkin, että teokseen ei tule ääntä. Museo ei halunnut lisätä näyttelytilaan melua, eikä budjetissa ollut tilaa ehdottamilleni soundshower-kaiuttimille. Langattomia kuulokkeita ehdotettiin, mutta en suostunut niihin, koska en halunnut, että vain osa teoksen katsojista saa täyden kokemuksen eristettynä muista. Ääni oli suunnitelmissani ensisijaisesti tilaa luova elementti, eikä kuulokkeisiin soveltuva intiimi kokemus.
valmis teos
Interaktiivinen mediataideteos, minun tyyliseni, maksimalistinen, käsittelee digimaailman tuottamaa jatkuvaa stimulaatiota pyrkimällä tuottamaan sitä itse (taiteen keinoin). Juuri kuten suunniteltu.
Valmista versiota teoksesta emme tule kuitenkaan näkemään ennen Generation 2026 -näyttelyn avajaisia toukokuussa 2026. Sitä ennen voi vain arvailla, mitä valmiiseen teokseen kuuluukaan.
Teoksessa on nyt jo erilaisia teemoja tai tilanteita, jotka vaihtuvat tasaisin väliajoin katsojan huomion ylläpitämiseksi. Näitä haluan vielä lisää.
Teemoihin saattaa tulla vielä taustakuvia ja muutakin uutta sisältöä.
Ehkä joskus vielä esitän teoksen äänimaiseman kera ja päätän silloin, että ei teos koskaan ollut valmis ilman ääniä. Tuhannetta versiota tehdessä koko ajatus valmiudesta on absurdia. Todennäköisempää on, että teos vain lakkaa joskus kehittymästä, kiinnostamasta, valmistumatta koskaan.
Kuvakaappauksia teoksen uusimmasta versiosta.
itsearviointi
Teos vastaa hyvin alkuperäistä ideaani.
Suunnitellessa teosta eteenpäin keksin siihen vielä paljon lisäelementtejä, enkä ollut vielä korjannut joitakin ongelmia joita nämä lisäelementit paikkasivat. Ajattelin aluksi esimerkiksi, että vuorovaikutteisuuden mahdollistava kamera katsoisi suoraan eteenpäin näytön keskeltä, jolloin liikettä näkyisi vain näytön alaopuoliskolla ja yläreunaan pitäisi keksiä muuta sisältöä. Kameran todellinen sijainti näytön yläreunassa korjasi tämän.
Kaikessa yksinkertaisuudessaan teos tuntuu sopivan maksimalistiselta ja hyperaktiiviselta, niin kuin halusinkin.
Minusta tuntuu, että teoksella on paljon potentiaalia myös Generation 2026 -näyttelyn jälkeen, sillä sitä voi helposti käyttää pohjana uusille versioille tai jopa uusille teoksille eri aiheista.
Portfoliosta:
Käytin tähän aivan liikaa aikaa ja suunnittelin
visuaalisuuden, toiminnallisuuden ja sisällön järjestyksen tarkasti. Tämä kai näkyy
lopputuloksessa.
Kaikki tekstit toisaalta kirjoitin vain kerran ja hädin tuskin luin niitä enää
sen jälkeen. Toivottavasti tämä ei näy pahasti lopputuloksessa.